Broaste si balamale pentru usi

Acasa > Accesorii pentru usi > Broaste si balamale pentru usi


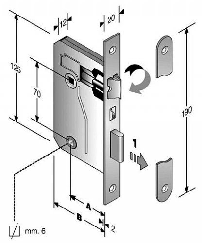
Broasca pentru baie Art. 45



Interaxa 70mm 
intrare 45mm 
placuta 190/20mm
A-45mm 
B-70mm
Finitura : auriu, nichel
Disponibilitate: In stoc

      buc.